Циклон ЦН-15-3000

Циклоны ЦН-15 во взрывобезопасном исполнении предназначены для очистки газов и воздуха от пылевых частиц.

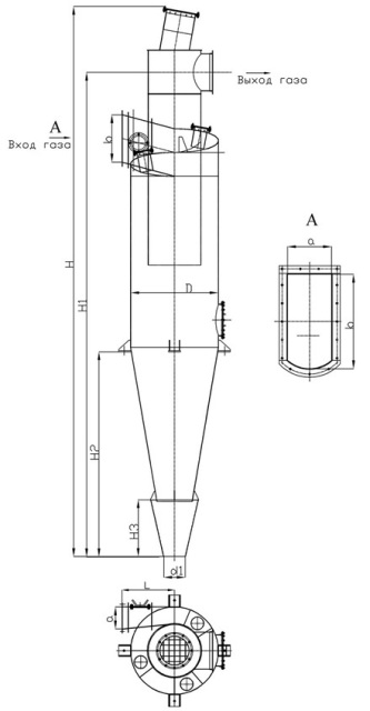
Принцип работы основан на центробежном эффекте. На входе в циклон поступательное движение пылевой смеси превращается во вращательное с направлением пылевого потока вниз.

Под действием сил инерции частицы движутся к наружной стене циклона и затем поступают в пылевой бункер. Очищенный воздух выходит через выхлопную трубу в отводящий трубопровод.

Циклоны выпускаются для взрывоопасных и взрывобезопасных топлив левого и правого исполнения. При правом исполнении выход пылевоздушного потока осуществляется по часовой стрелке, при левом – против часовой стрелки (если смотреть со стороны входного патрубка).

Циклон состоит из корпуса, входного патрубка, бункера и выхлопной трубы. Все узлы выполнены сварными из углеродистой стали.

Корпус циклона состоит из цилиндрической и конической частей. Для осмотра и ремонта внутренних стенок циклона в корпусе и входном патрубке имеются люки.

На циклонах ЦН-15 , предусмотренных для работы на взрывоопасных топливах, предусмотрены взрывные клапаны, расположенные на спиральном листе и крышке выхлопной камеры.

Наименование Производительность по воздуху м3/ч D, мм Н, мм а, мм b, мм Масса, кг
Циклон ЦН-15-3000 80000-90000 3000 17925 760 1620 8748
Прокрутить вверх