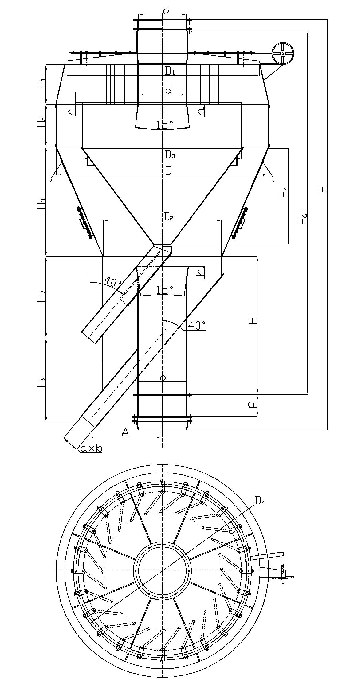
Сепараторы типов СПЦ и СПЦВ входят в состав оборудования шаровых барабанных мельниц стационарных котельных установок. Предназначены для отделения из воздушного потока, выносимого из мельницы, и возврата на домол к крупных частиц пыли.
Принцип работы сепаратора основан на использовании центробежных сил и собственного веса более крупных фракций пыли, которые отделяются из общего пылевоздушного потока и возвращаются на домол в размольный аппарат.
Сепараторы СВЦ для взрывобезопасных топлив и СВЦВ для взрывоопасных топлив. Классифицируются по максимальному объему проходящей аэросмеси и компонуются с мельницей соответствующей производительности.
Сепараторы выпускаются в двух исполнениях, отличающихся друг от друга диаметром входного (выходного) патрубка.
Центробежный сепаратор состоит из корпуса, крышки, лопаточного аппарата и привода лопаток. Корпус и крышка выполнены сварными из углеродистой стали. В нижней части сепаратора расположены входной патрубок, присоединяемый через пылепровод к размольному агрегату, и трубопроводы возврата, подсоединяемые к входному патрубку мельницы. В верхней части сепаратора находится выходной патрубок, который соединяется с пылепроводом. Для осмотра и мелкого ремонта в корпусе имеются люки.
Лопаточный аппарат расположен в верхней части сепаратора в полости крышки. Состоит из лопаток (16-32 шт.), равномерно размещенных по окружности. Необходимая тонкость помола регулируется поворотом лопаток посредством привода.
Привод лопаток состоит из индивидуальных рычагов каждой лопатки, которые посредством пальцев соединяются с приводным кольцом, расположенным на опорах. Приводное кольцо приводится в движение ручным приводом посредством соединяющего их рычага. Вращение червяка осуществляется цепным колесом.
На сепараторах, предназначенных для работы на взрывоопасных топливах, предусмотрены взрывные клапаны, установленные в верхней части сепаратора.
| Наименование | Производительность по воздуху м 3/час | D, мм | Н, мм | ахb, мм | V, м3 | Масса, кг |
| Сепаратор СПЦ 4250/1400(1600) | 55000 — 122000 (72000 — 160000) | 4250 | 7780 | 350х310 | 33,4 | 12800/13200 |

