[vc_row css_animation=»fadeInUp»][vc_column][vc_column_text]
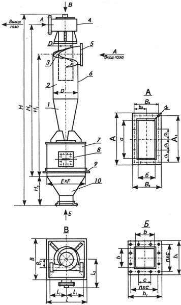
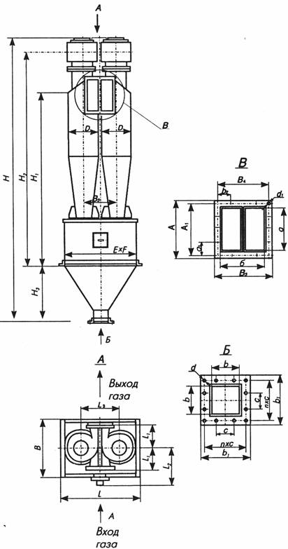
Циклоны ЦН-15 предназначены для сухой очистки газов. Указанные циклоны рекомендуется применять для улавливания золы из дымовых газов; пыли, уносимой из сушилок; пыли, уносимой газом из аппаратов, в которых протекают процессы со взвешенными в газе частицами; пыли, образующейся при пневматической транспортировке материалов; для очистки загрязненного воздуха с начальной запыленностью до 400 г/м3 . Для очистки воздуха от взрывоопасной, сильнослипающейся и волокнистой пыли циклоны ЦН-15 применять не следует. В зависимости от расхода очищаемого воздуха циклоны могут применяться как в одиночном исполнении, так и в групповом, состоящем из 2-х, 4-х, 6-и и 8-ми циклонов. При подборе типоразмера циклона надо учитывать, что с увеличением диаметра циклона степень очистки воздуха уменьшается. В связи с этим не рекомендуется применять циклоны с диаметром более 800-1000мм. Конструкция циклона рассчитана на температуру до 400°С и разряжение (давление) 5(500) кПа (кгс/м2).[/vc_column_text][vc_btn title=»КУПИТЬ» color=»primary» align=»center» button_block=»true» el_class=»sg-popup-id-1902″][/vc_column][/vc_row][vc_row css_animation=»fadeInUp»][vc_column][vc_column_text]Циклоны изготавливаются как левого, так и правого исполнения. Они могут устанавливаться как на всасывающей линии вентилятора, так и на нагнетании. В зависимости от этого одиночный циклон комплектуется с улиткой на выходе очищенного воздуха или зонтом. При очистки воздуха от абразивной пыли, вызывающей износ крыльчаток вентилятора, циклоны рекомендуется устанавливать перед вентилятором. В группе циклонов патрубки с выходом очищенного воздуха могут объединяться сборным коллектором с выходом воздуха вертикально и системой улиток каждого циклона, объединенных общим фланцем. В первом случае группа циклонов носит название ЦН-15-СП, во втором случае ЦН-15-УП, где П — форма бункера циклона- пирамидальная; числа 200,300,400 и т.д. соответствуют диаметру циклона Dмм.жет быть увеличена.
Условное обозначение типоразмера одиночного группового циклона:
Например: ЦН-15Л-600х2УП.
ЦН – циклон НИИОгаза; 15 – угол наклона входного патрубка относительно горизонтали (град.); П, Л – «Правое» («Левое») вращение газа; число после тире (600) – внутренний диаметр цилиндрической части циклона (мм); следующая цифра (2) – количество циклонов в группе; У – с камерой очищенного газа в виде «улитки»; С – с камерой очищенного воздуха в виде сборника; П – пирамидальная форма бункера.
Материал для изготовления циклонов – углеродистая сталь при температуре окружающей среды до 40оС. При температуре ниже — 40оС применяют низколигированные стали.
Групповые циклоны диаметром более 600 мм поставляются в разобранном виде.
При работе циклонов должна быть обеспечена выгрузка пыли. При этом уровень пыли в бункерах должен быть не выше плоскости, расположенной от крышки бункера на 0,5 диаметра циклона.
В технической характеристике приведены значения производительности, отнесенные к скорости в цилиндрической части циклона V=2,5 и 4,0 м/с. В обычных условиях оптимальной считается скорость 4,0 м/с. Скорость 2,5 м/с рекомендуется принимать при работе с абразивной пылью.
Основные параметры циклонов ЦН-15
| Массовая концентрация пыли в очищаемом газе, г/м3: | |
| для слабослипающихся пылей | до 1000 |
| для среднеслипающихся пылей | 250 |
| Температура очищаемого газа, С | до 400 |
| Давление, кПа | до 5 |
| Коэффициент гидравлического сопротивления циклонов: | |
| для одиночного исполнения | 147 |
| для группового исполнения | |
| с «улиткой» | 175 |
| со сборником | 182 |
Схемы циклонов ЦН-15 УП
ЦН-15 1УП |
ЦН-15 2УП |
![]() |
![]() |
ЦН-15 4УП |
ЦН-15 6УП |
![]() |
![]() |
Технические характеристики циклонов типа ЦН15
| Типоразмер циклона | Площадь сечения цилиндрической части корпуса (группы корпусов), м2 |
Производительность, м3/час | Рабочий объем бункера, м3 | |
|---|---|---|---|---|
| при V=2,5м/сек | при V=4,0м/сек | |||
| ЦН-15-200х1УП | 0,0314 | 283 | 452 | 0,04 |
| ЦН-15-300х1УП | 0,07 | 630 | 1000 | 0,082 |
| ЦН-15-400х1УП | 0,125 | 1110 | 1800 | 0,13 |
| ЦН-15-500х1УП | 0,196 | 1800 | 2800 | 0,32 |
| ЦН-15-600х1УП | 0,282 | 2500 | 4100 | 0,43 |
| ЦН-15-700х1УП | 0,384 | 3500 | 5500 | 0,58 |
| ЦН-15-800х1УП | 0,502 | 4500 | 7200 | 1,03 |
| ЦН-15-900х1УП | 0,635 | 5700 | 9200 | 1,65 |
| ЦН-15-1000х1УП | 0,785 | 7100 | 11300 | 2,50 |
| ЦН-15-1200х1УП | 1,13 | 10200 | 16200 | 3,73 |
| ЦН-15-1400х1УП | 1,538 | 13900 | 22200 | 6,44 |
| ЦН-15-1600х1УП | 2,00 | 18000 | 28800 | 8,2 |
| ЦН-15-1800х1УП | 2,50 | 22500 | 36000 | 13,4 |
| ЦН-15-2000х1УП | 3,00 | 27000 | 43200 | 16,0 |
| ЦН-15-300х2УП (СП) | 0,14 | 1270 | 2000 | 0,20 |
| ЦН-15-400х2УП (СП) | 0,25 | 2300 | 3600 | 0,31 |
| ЦН-15-500х2УП (СП) | 0,392 | 3500 | 5600 | 0,50 |
| ЦН-15-600х2УП (СП) | 0,564 | 5100 | 8100 | 0,60 |
| ЦН-15-700х2УП (СП) | 0,768 | 6900 | 11100 | 0,83 |
| ЦН-15-800х2УП (СП) | 1,004 | 9000 | 14400 | 1,15 |
| ЦН-15-900х2УП (СП) | 1,27 | 11400 | 18300 | 1,45 |
| ЦН-15-400х4УП (СП) | 0,50 | 4500 | 7200 | 0,76 |
| ЦН-15-500х4УП (СП) | 0,784 | 7000 | 11300 | 1,10 |
| ЦН-15-600х4УП (СП) | 1,128 | 10200 | 16300 | 1,50 |
| ЦН-15-700х4УП (СП) | 1,536 | 13800 | 22000 | 2,03 |
| ЦН-15-800х4УП (СП) | 2,008 | 18100 | 28900 | 2,61 |
| ЦН-15-900х4УП (СП) | 2,54 | 22800 | 36600 | 3,01 |
| ЦН-15-500х6УП (СП) | 1,176 | 10600 | 16900 | 2,72 |
| ЦН-15-600х6УП (СП) | 1,692 | 15300 | 24400 | 4,45 |
| ЦН-15-700х6УП (СП) | 2,304 | 20800 | 33100 | 6,2 |
| ЦН-15-800х6УП (СП) | 3,012 | 27100 | 43300 | 10,2 |
| ЦН-15-900х6УП (СП) | 3,81 | 34300 | 54900 | 13,1 |
| ЦН-15-500х8УП (СП) | 1,568 | 14100 | 22600 | 6,2 |
Габаритные размеры циклона (группы циклонов) с «улиткой», со сборником и пирамидальным бункером.
| Типоразмер циклона |
Размеры, мм | Массас бункером, кг | ||||||||
|---|---|---|---|---|---|---|---|---|---|---|
| D1 | Н | Н1 | Н2 | Н3 | В | L | а*б/А*Б | b | ||
| 1 | 2 | 3 | 4 | 5 | 6 | 7 | 8 | 9 | 10 | 11 |
| ЦН-15-200х1УП/СП | 1876 | 1106 | 1391 | 360 | 436 | 436 | 132*52 | 100 | 55 | |
| ЦН-15-300х1УП/СП | 2508 | 1505 | 1870 | 480 | 606 | 606 | 198*78 | 150 | 95 | |
| ЦН-15-400х1УП/СП | 3080 | 1914 | 2359 | 530 | 706 | 706 | 264*104 | 200 | 145 | |
| ЦН-15-500х1УП/СП | 3942 | 2463 | 2988 | 730 | 906 | 906 | 330*130 | 200 | 215 | |
| ЦН-15-600х1УП/СП | 4544 | 2926 | 3532 | 750 | 1034 | 1034 | 396*156 | 200 | 400 | |
| ЦН-15-700х1УП/СП | 5206 | 3396 | 4081 | 830 | 1134 | 1134 | 462*182 | 200 | 520 | |
| ЦН-15-800х1УП/СП | 6028 | 3924 | 4690 | 1010 | 1334 | 1334 | 528*208 | 200 | 700 | |
| ЦН-15-900х1УП/СП | 6742 | 4436 | 5281 | 1100 | 1536 | 1536 | 594*234 | 300 | 790 | |
| ЦН-15-1000х1УП/СП | 7574 | 4954 | 5880 | 1300 | 1736 | 1736 | 660*260 | 300 | 1280 | |
| ЦН-15-1200х1УП/СП | 8816 | 6056 | 7144 | 1210 | 2010 | 2010 | 792*312 | 300 | 2180 | |
| ЦН-15-1400х1УП/СП | 10319 | 7055 | 8302 | 1490 | 2410 | 2410 | 924*364 | 300 | 3030 | |
| ЦН-15-1600х1УП/СП | 11614 | 7983 | 9390 | 1630 | 2610 | 2610 | 1056*416 | 300 | 3720 | |
| ЦН-15-1800х1УП/СП | 13204 | 9095 | 10663 | 1880 | 3012 | 3012 | 1188*468 | 360 | 5820 | |
| ЦН-15-2000х1УП/СП | 14298 | 9913 | 11641 | 1930 | 3212 | 3212 | 1320*520 | 500 | 6870 | |
| ЦН-15-300х2УП/СП | 245 | 2750 2737 |
1657 1653 |
2022 | 570 | 656 | 856 | 198*176 | 200 | 170 160 |
| ЦН-15-400х2УП/СП | 273 | 3442 3422 |
2156 2152 |
2601 | 650 | 756 | 956 | 264*32 | 200 | 280 270 |
| ЦН-15-500х2УП/СП | 377 | 4034 3974 |
2585 2582 |
3110 | 700 | 856 | 1256 | 330*284 | 300 | 400 380 |
| ЦН-15-600х2УП/СП | 426 | 4656 4591 |
3008 3002 |
3614 | 780 | 1008 | 1408 | 396*336 | 300 | 750 690 |
| ЦН-15-700х2УП/СП | 530 | 5508 5901 |
3608 3602 |
4293 | 920 | 1008 | 1608 | 462*388 | 300 | 980 915 |
| ЦН-15-800х2УП/СП | 630 | 6160 6012 |
4006 4001 |
4772 | 1060 | 1108 | 1808 | 528*440 | 300 | 1230 1130 |
| ЦН-15-900х2УП/СП | 720 | 6872 6687 |
4456 4450 |
5301 | 1210 | 1208 | 2008 | 594*492 | 300 | 1500 1380 |
| ЦН-15-400х4УП/СП | 426 | 3772 3806 |
2406 2402 |
2851 | 730 | 1206 | 1006 | 264*464 | 300 | 550 570 |
| ЦН-15-500х4УП/СП | 530 | 4464 4479 |
2805 2802 |
3330 | 910 | 1406 | 1156 | 330*563 | 300 | 750 770 |
| ЦН-15-600х4УП/СП | 630 | 5026 4997 |
3208 3202 |
3814 | 950 | 1658 | 1358 | 396*672 | 300 | 1360 1310 |
| ЦН-15-700х4УП/СП | 720 | 5718 5539 |
3608 3602 |
4293 | 1130 | 1908 | 1508 | 462*776 | 300 | 1820 1720 |
| ЦН-15-800х4УП/СП | 820 | 6380 6139 |
4006 4001 |
4772 | 1280 | 2110 | 1710 | 528*880 | 300 | 2380 2230 |
| ЦН-15-900х4УП/СП | 920 | 6962 6702 |
4406 4400 |
5251 | 1350 | 2210 | 1910 | 594*984 | 300 | 2880 2660 |
| ЦН-15-500х6УП/СП | 630 | 4913 5038 |
2704 2702 |
3229 | 1460 | 1910 | 1910 | 330*918 | 300 | 1700 1280 |
| ЦН-15-600х6УП/СП | 720 | 5773 5907 |
3185 3182 |
3791 | 1680 | 2210 | 2210 | 396*1092 | 300 | 2700 2030 |
| ЦН-15-700х6УП/СП | 820 | 6385 6513 |
3725 3722 |
4410 | 17201 | 2510 | 2510 | 462*1266 | 300 | 3250 2740 |
| ЦН-15-800х6УП/СП | 1020 | 7363 7448 |
4304 4301 |
5070 | 1955 | 2912 | 2912 | 528*1440 | 300 | 4500 3830 |
| ЦН-15-900х6УП/СП | 1120 | 8060 8146 |
4674 4670 |
5519 | 2180 | 3212 | 3212 | 594*1614 | 300 | 5200 4640 |
| ЦН-15-1000х6УП/СП | 1220 | _____ 10459 |
_____ 5950 |
_____ 6410 |
||||||
| ЦН-15-500х8УП/СП | 720 | 5253 5565 |
2824 2822 |
3349 | 1680 | 2510 | 2510 | 330*1178 | 300 | 2350 2300 |
| ЦН-15-600х8УП/СП | 1120 | _____ 8345 |
_____ 4351 |
_____ 6000 |
||||||
Циклоны изготавливаются из Ст. 3 — 3 мм, Бункера – 4 мм.
Изготавливаем циклоны из нержавеющей стали.
По требованию заказчика толщина металла при изготовлении циклонов и бункеров может быть увеличена.
Опросный лист для расчета и подбора циклона[/vc_column_text][/vc_column][/vc_row]



